D-pad

The D-pad (short for directional pad) is a compact input method developed for video games, designed to translate thumb movement into directional control through a flat, cross-shaped surface that rests on four internal switches. Each switch corresponds to a cardinal direction (up, down, left, and right), while diagonal inputs engage two switches simultaneously, enabling eight-directional control at 45-degree intervals. Beneath the center, a pivot mechanism tilts the pad, preventing all four switches from being pressed at once and enhancing tactile feedback.
When introduced, the D-pad offered a space-saving, precise input method at a time when bulky joysticks dominated the market. Although analog sticks have largely superseded D-pads as the primary directional input in modern gamepads, the D-pad’s compact, intuitive, and versatile design has led to its adoption in a wide range of devices, including remote controls, calculators, PDAs, mobile phones, and car stereos.
History

The precursor to the D-pad was the use of four separate directional buttons. Early arcade games such as Blockade (1976)[1] by Gremlin and Vanguard (1981)[2] by SNK employed this method. Entex's short-lived "Select-A-Game" handheld system featured directional buttons alongside a row of action buttons, as did the unreleased Atari Game Brain and other early consoles like the VideoMaster Star Chess.[3] Milton Bradley's Cosmic Hunter (1981) on the Microvision handheld added a fifth button in the center, all housed beneath a single rubber membrane.[4]

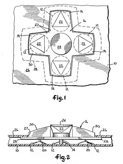
In 1979, William F. Palisek patented the first true D-pad design for Tiger Electronics. His version featured a single piece of plastic resting on a central pivot and four directional switches that provide input and keep the plastic pad resting in a neutral position when not in use.[5] Tiger debuted the design on its Deluxe Football with Instant Replay handheld in 1980, marketing it as the "Playmaker" button. Media reviews praised it for enabling "one-button control".[6][7] That same year, Mattel released the Intellivision, featuring a smooth freely rotating circular pad that registered presses in up to 16 directions.[8][9] Internally, a metal spring holds the Intellivision's control disc centered above sheets of printed mylar.[10]

Nintendo's iconic "cross" design was developed by Ichiro Shirai and first used the 1982 Game & Watch handheld adaptation of the Donkey Kong arcade game. Unlike Palisek's earlier design, which was larger, centrally located on the device and used domed switches, Nintendo’s version was smaller, positioned for the left thumb, and employed membrane switches that were easier to depress; this key innovation became the distinguishing feature of Nintendo’s patented design.[11][12][13] The compact design gained popularity on subsequent Game & Watch titles. The design later earned a Technology & Engineering Emmy Award.[14][15]
Initially created as a space-saving control method for handheld devices, Nintendo soon recognized the D-pad’s potential for home consoles and made it the standard directional input for the highly successful Nintendo Entertainment System (first released in 1983 in Japan as the Famicom) under the name "+Control Pad".[16] Part of Nintendo's rationale came from the durability of the D-pad and the expectation that controllers would be left on floors and crushed.[17] Since then, nearly all major video game consoles have included some form of D-pad on their controllers. To avoid infringing on Nintendo’s patent, most third-party manufacturers adopted variations, typically featuring a cross embedded within a circular base.[18]

In 1984, the Japanese company Epoch created a handheld game system called the Epoch Game Pocket Computer. It featured a D-pad, but it was not popular for its time and soon faded. Following the release of the Sega Mega Drive in 1988, Sega coined the term "D button" to describe the pad, using the term when describing the controllers for the Sega Genesis in instruction manuals and other literature. Arcade games, however, have largely continued using joysticks.
Modern consoles, beginning with the Nintendo 64, provide both a D-pad and a compact thumb-operated analog stick; depending on the game, one type of control may be more appropriate than the other. In many cases with games that use a thumbstick, the D-pad is used as a set of extra buttons, all four usually centered on a kind of task, such as using items. Even without an analog stick, some software uses the D-pad's 8-directional capabilities to act as eight discrete buttons, not related to direction or on-screen movement at all. Jam Sessions for the Nintendo DS, for example, uses the D-pad to select music chords during play.[19]
Components

D-pads vary in design but generally have a:[20][21]
- Circuit board that registers input[22]
- Membrane that is pressed down against the board to complete the circuit[22]
- Hard pivot in the center[23]
- Plastic D-pad "button"[22]
The housing of the controller or other device holds these components together.[20] The central pivot keeps all four directions from being pressed at once and causes the D-pad to tilt into the direction pressed.[20][23] Outside of gaming, D-pads are used for menu navigation and may lack the central pivot. Some remotes instead have a central "select" or "OK" button.[24] With the increased usage of touchscreens, some applications offer virtual D-pads.[21]
On non-gaming equipment

D-pads appear on a number of menu-driven devices as a simple navigational tool; though superficially similar to those used for gaming devices, they are not optimized for real-time control and therefore can usually accept input from only one direction at a time. Many, though not all, such designs include a trigger button in the center of the button arrangement, usually labeled "Enter", "OK", or the like. Some older devices do not have D-pads as such, but simple single-axis, up/down or left/right pads. On some remotes, the D-pad can also be used to control a robot using a signal-compatible receiver.
On remote control devices, the buttons on the D-pad function in the same manner as other buttons, and are generally used to navigate on-screen menus. Though initially not common, the quick success of the DVD format led to wide availability of remote designs with D-pads circa 2000, and most current menu-driven consumer electronics devices include some sort of D-pad on the remote (and, occasionally, on the unit itself).
In addition, many small computing and communications devices, particularly PDAs, mobile phones, and GPS receivers, include D-pads not only for menu navigation but as general input devices similar to a joystick or mouse. Less-sophisticated designs similar to those on remote controls appear on some calculators, particularly scientific and graphing calculators, which use the D-pad for cursor control on multi-line screens, as well as input/output recall, menu navigation, and occasionally direct screen access (graphing calculators in particular allow the use of the D-pad to determine values at specific points on a displayed graph). On programmable units, the D-pad can also be mapped directly, allowing it to be used as a gaming or pointer control.
Consoles with D-pads
Consoles with separate controllers
- 1983 – Famicom/NES
- 1984 – SC-3000/SG-1000 (optional SJ-150 Joypad)
- 1984 – SG-1000 II
- 1984 – Atari 7800 (CX-78 controller)
- 1985 – Mark III/Master System
- 1987 – PC Engine/TurboGrafx-16
- 1988 – Mega Drive/Genesis
- 1990 – Super Famicom/Super NES
- 1990 – Philips CD-i
- 1993 – 3DO Interactive Multiplayer
- 1993 – Amiga CD32
- 1993 – Atari Jaguar
- 1994 – Sega Saturn
- 1994 – PlayStation
- 1994 – PC-FX
- 1995 – Virtual Boy (two D-pads)
- 1995 – Pippin
- 1996 – Nintendo 64
- 1998 – Dreamcast
- 2000 – PlayStation 2
- 2001 – GameCube
- 2001 – Xbox
- 2005 – Xbox 360
- 2006 – PlayStation 3
- 2006 – Wii
- 2012 – Wii U
- 2013 – Ouya
- 2013 – PlayStation 4
- 2013 – Xbox One
- 2013 – Gamestick
- 2015 – Shield Android TV
- 2017 – Nintendo Switch (Pro Controller / Switch Lite only)
- 2020 – PlayStation 5
- 2020 – Xbox Series X/S
- 2021 – Atari VCS (2021 console)
- 2025 - Nintendo Switch 2 (Pro Controller only)
Handheld consoles
- 1980 – Tiger Electronics (Playmaker)[25][26]
- 1981 – Tomytronic (Tron)[27]
- 1982 – Game & Watch (Donkey Kong)
- 1984 – Epoch Game Pocket Computer
- 1989 – Game Boy line
- 1989 – Atari Lynx
- 1990 – Game Gear
- 1994 – Mega Jet
- 1995 – Genesis Nomad
- 1998 – PocketStation
- 2001 – GP32
- 2003 – Leapster
- 2004 – Nintendo DS
- 2004 – PlayStation Portable
- 2006 – Nintendo DS Lite
- 2008 – GP2X F200[28]
- 2009 – Mi2
- 2009 – Nintendo DSi
- 2009 – GP2X Wiz
- 2009 – PSP Go
- 2010 – Nintendo DSi XL
- 2011 – Pandora
- 2011 – Nintendo 3DS
- 2011 – PlayStation Vita
- 2013 – Nintendo 2DS
- 2013 – Nvidia Shield
- 2014 – New Nintendo 3DS
- 2017 – New Nintendo 2DS XL
- 2019 – Nintendo Switch Lite
- 2022 – Steam Deck
- 2022 – Panic Playdate
See also
Notes
References
- ^ Blockade at the Killer List of Videogames
- ^ Matt Barton & Bill Loguidice, The History of Robotron: 2084 - Running Away While Defending Humanoids, Gamasutra
- ^ "Videomaster Star Chess". Ultimate Console Database. Archived from the original on 2011-07-22. Retrieved 2010-08-30.
- ^ Sony's PlayStation Portable and Milton Bradley's Microvision - The PSP and the History of Handheld Video Gaming, Part 2, Niko Silvester, about.com. Accessed on line June 7, 2010.
- ^ United States Expired - Lifetime US4256931A, William F. Palisek, "Multiple Dome Switch Assembly Having Pivotable Common Actuator", published 1981-03-17.
- ^ "Tiger Offers". Toy & Hobby World. Vol. 18. Charleson Publishing Company. 1979. p. 130. Retrieved 29 November 2024.
- ^
- Tiger Deluxe Football with a Playmaker Button (advertisement). Tiger. 1980.
- "Tiger Electronic Toys: Deluxe Football with Instant Replay" (manual). Tiger. 1980.
- ^ Jeffrey, Cal (15 May 2019). "The Most Memorable Game Controllers from the Last 40 Years". TechSpot.
- ^ Wardyga, Brian J. (6 August 2018). "Mattel Intellivision". The Video Games Textbook. CRC Press. ISBN 978-1-351-17234-9.
- ^ Millette, Darryl (29 March 2022). "Repairing the Intellivision: Vintage Gaming Console". SaskaPriest.
- ^ United States US4687200A, Ichiro Shirai, "Multi-Directional Switch", published 1987-08-18.
- ^ Ubachs, Jurian; Kerssenberg, Donovan. "De D-pad is Jarig - Al Veertig Jaar Onmisbaar". Tweakers (in Dutch). Retrieved 29 November 2024.
- ^ McConnel, Samuel (20 October 2016). "Your Move: Yokoi's Creativity Propelled Nintendo". KMUW.
- ^ "Nintendo Wins Emmy For DS And Wii Engineering | Technology | Sky News". News.sky.com. 2008-01-09. Archived from the original on 2012-07-11. Retrieved 2010-08-30.
- ^ Magrino, Tom (2008-01-08). "CES '08: Nintendo wins second Emmy - News at GameSpot". Gamespot.com. Retrieved 2016-04-28.
- ^ "【任天堂「ファミコン」はこうして生まれた】 第7回:業務用機の仕様を家庭用に、LSIの開発から着手" [How the Famicom Was Born – Part 7: Deciding on the Specs]. Nikkei Electronics (in Japanese). Nikkei Business Publications. December 19, 1994. Archived from the original on October 12, 2008. Retrieved 13 April 2021.
- "Deciding on the Specs". GlitterBerri's Game Translations. April 21, 2012. Archived from the original on 2012-04-27.
- ^ Packwood, Lewis (18 July 2023). "40 years of the Nintendo Famicom – the console that changed the games industry". The Guardian.
- ^ "The Next Generation 1996 Lexicon A to Z: Joypad". Next Generation. No. 15. Imagine Media. March 1996. p. 35.
- ^ Abraham, Danielle (2024-08-26). "Best Nintendo Switch Controller 2024". IGN. Retrieved 2024-11-03.
- ^ a b c d Wolf, Mark J. P. (16 August 2012). Encyclopedia of Video Games: The Culture, Technology, and Art of Gaming [2 volumes]. Bloomsbury Publishing USA. p. 281. ISBN 978-0-313-37937-6.
- ^ a b Godbold, Ashley (30 April 2018). Mastering UI Development with Unity: An in-depth guide to developing engaging user interfaces with Unity 5, Unity 2017, and Unity 2018. Packt Publishing Ltd. pp. 424–430. ISBN 978-1-78728-843-0.
- ^ a b c Rouse, Margaret (11 February 2016). "Directional Pad". Techopedia.
- ^ a b Ahmed, Sayem (10 August 2023). "8BitDo M30 review: Retro-looks, modern features". Dexerto.
- ^ "TV navigation". Android Developers. Retrieved 30 November 2024.
- ^ "Tiger Playmaker".
- ^ "Multiple dome switch assembly having pivotable common actuator".
- ^ "Tomy Tron".
- ^ "La GamePark GP2X F-200 enfin disponible pour 120€ - Le Journal du Numérique". Journaldunumerique.com. Archived from the original on 2010-07-30. Retrieved 2010-08-30.