Útero artificial
| Útero artificial | ||
|---|---|---|
![]() | ||
| Tipo de producto | órgano artificial | |

Un útero artificial es un dispositivo que permitiría un embarazo externo, mediante el crecimiento de un feto fuera del cuerpo de una hembra, que normalmente llevaría el embarazo a término.
El útero artificial tendría numerosas aplicaciones. Este podría servir para desarrollar un feto para parejas de hombres o de mujeres que no pudieran quedarse embarazadas. Este dispositivo también podía utilizarse en caso de que el embarazo fuera de riesgo o se corriera peligro de aborto. En este caso podría ser visto como una incubadora neonatal con numerosas funciones. También podría utilizarse en el inicio del desarrollo fetal. Otra ventaja sería la posibilidad de realizar cirugías fetales en estadios más tempranos del desarrollo del feto en vez de tener que posponerlos hasta momentos más avanzados del embarazo.[1]
En 2016 se publicaron dos estudios en los que se habían conseguido desarrollar embriones durante trece días en un útero externo.[2]
En 2017, investigadores del Children’s Hospital of Philadelphia publicaron un estudio en el que demostraron que habían conseguido hacer crecer fetos de corderos prematuros durante cuatro semanas en un dispositivo de apoyo extrauterino.
Componentes
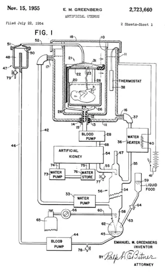
El útero artificial tendría que proveer nutrientes y oxígeno para nutrir al feto, así como disponer de un modo de eliminar las sustancias de desecho. El dispositivo podría incluir un sistema que emularía la placenta, un tanque amniótico equivalente al saco amniótico y un cordón umbilical artificial.[1]
Nutrición, aporte de oxígeno y eliminación de desechos
Estos sistemas de nutrición y eliminación de desechos tendrían la ventaja de proteger al feto durante su desarrollo ante ambientes dañinos, como pueden ser algunas enfermedades, la contaminación ambiental, el alcohol o drogas que un humano puede tener en su organismo.[1] Además, no habría reacciones inmunes hacia el feto que podrían producirse en ciertas enfermedades maternas y fetales, estudiadas por la inmunología reproductiva. Algunas funciones que podría tener el dispositivo serían:
- Eliminación de desechos mediante diálisis.
- ECMO (oxigenación por membrana extracorpórea): técnica que ha mantenido con éxito fetos vivos de cabra durante 237 horas en tanques amnióticos. Esta técnica ya es utilizada en las unidades de cuidados intensivos neonatales para mantener a los bebés con diversos problemas pulmonares vivos. Sin embargo, se ha visto que la vasculatura cerebral está poco desarrollada en fetos, por lo que podrían producirse hemorragias intraventriculares si se usa la técnica en fetos demasiado jóvenes. Es por ello que se ha propuesto la ventilación líquida como método alternativo de oxigenación.
- Nutrición artificial: las técnicas actuales son problemáticas. La nutrición parenteral total se ha estudiado en niños con síndrome de intestino corto y la supervivencia no es demasiado óptima.[1]
- Asuntos relacionados con la estabilidad hormonal deben ser estudiados.[1]
Pared uterina
En un útero natural, el miometrio de la pared actúa en el momento de la expulsión del feto, es decir, en el parto, además el endometrio tiene una función en el desarrollo de la placenta. Un útero artificial debería incluir componentes que tuvieran las funciones equivalentes. Diferentes métodos han sido estudiados para conectar una placenta artificial y otros componentes directamente a una circulación externa.[1]
Placenta artificial
La comunicación entre el proveedor y el embrión o feto sería enteramente artificial, por ejemplo, usando membranas semipermeables como las utilizadas en ECMO.[3] También existe un potencial para hacer crecer una placenta utilizando células endometriales humanas. En 2002 se anunció que las muestras de tejidos a partir células endometriales habían crecido. La muestra de tejido se manipuló para formar un útero y varios embriones fueron implantados, comenzando a crecer. Estos experimentos se detuvieron a los seis días, de acuerdo con lo permitido en la ley de EE. UU., donde se realizaron.
La placenta humana podría ser trasplantada dentro del útero artificial, pero el paso de nutrientes todavía debe estudiarse.
Tanque amniótico
La principal función de este tanque amniótico sería la de cubrir la función del saco amniótico, como son la protección física, aunque permitiendo el movimiento, y el mantenimiento de la temperatura adecuada del feto.[3]
Cordón umbilical
Teóricamente, en caso de extracción prematura del feto de un útero natural, el cordón umbilical podría utilizarse, manteniéndolo abierto mediante la inhibición de su oclusión, pudiendo hacerse por anticoagulantes, usando un stent o creando un bypass para mantener el flujo sanguíneo.[1]
Investigación y desarrollo
El desarrollo de úteros artificiales se está llevando a cabo en diferentes equipos universitarios o centros de investigación en diferentes partes del mundo. A continuación se listan algunas destacadas.
Hospital Clínic y Sant Joan de Déu (Barcelona, España)
En Barcelona, España, en 2020, el equipo de BCNatal - liderado por Eduard Gratacós y apoyado por el Hospital Clínic de Barcelona y Sant Joan de Déu de Barcelona-, puso en marcha el primer proyecto experimental de Placenta Artificial en Europa, impulsado económicamente por la Fundación "la Caixa" con una subvención inicial de 3,35 millones de euros.
En junio de 2023, el equipo demostró que su prototipo de incubadora líquida fetal era capaz de mantener a fetos ovinos en un entorno de líquido amniótico conectados a un equipo circulación extracorpórea sin bomba. Lograron una supervivencia de 7 días en fetos de 110-115 días de gestación,[4] mostrando una curva de aprendizaje exitosa en la canulación y el manejo del circuito. Al mismo tiempo, otro estudio se mostró la adaptación cardiovascular aguda después de la conexión al sistema.[5] También en junio de 2023, se informó de un nuevo hito de supervivencia, llegando a 12 días en fetos ovinos.[6][7][8] El proyecto entró en su segunda fase con 4,3 millones de euros adicionales, con el objetivo de perfeccionar la tecnología y aumentar la supervivencia a tres o cuatro semanas.[4]
Este equipo de investigación planea iniciar las pruebas en humanos aproximadamente en 2027-2028, siempre que se asegure toda la financiación requerida.[9]
Consideraciones filosóficas
Bioética
El desarrollo de úteros artificiales y la ectogénesis levanta problemas éticos y legales. Esto tiene importantes implicaciones para los derechos reproductivos y el debate sobre el aborto.
Los úteros artificiales podrían ayudar a la viabilidad fetal, surgiendo cuestiones sobre la implicación de este factor en los abortos, tenido en cuenta la legislación existentes sobre este tema. Sin los problemas de viabilidad, se podría retirar el feto de una mujer y utilizar úteros artificiales, lo que podría ser una alternativa al aborto.[10][11]
También existe preocupación sobre los niños que se desarrollan en úteros artificiales, que podrían carecer del vínculo materno-filial que se forma durante el embarazo.[12]
Igualdad de género y LGTB
En 1970, la feminista Shulamith Firestone escribió sobre las diferencias en los roles reproductivos biológicos como una fuente de desigualdad entre géneros. Ella señaló que la existencia de úteros artificiales “liberaría a la mujer de la tiranía de su biología reproductiva”.[13][14]
Los biólogos plantean en la prensa, que este dispositivo daría a los hombres la herramienta para tener hijos sin la necesidad de una mujer. Esto supondrá cambios en la visión sobre los géneros y la paternidad. Además discuten los beneficios para las parejas del mismo sexo, el útero artificial podría suponer que mujeres (cis o trans) o parejas de mismo sexo podrían tener igualdad reproductiva y podrían eliminarse los prejuicios.[15]
Referencias
- ↑ a b c d e f g h Bulletti, Carlos; Palagiano, Antonio; Pace, Caterina; Cerni, Angelica; Borini, Andrea; Ziegler, Dominique de (2011). «The artificial womb». Annals of the New York Academy of Sciences (en inglés) 1221 (1): 124-128. ISSN 1749-6632. doi:10.1111/j.1749-6632.2011.05999.x. Consultado el 3 de enero de 2019.
- ↑ Zernicka-Goetz, Magdalena; Fishel, Simon; Niakan, Kathy K.; Khalaf, Yakoub; Ilic, Dusko; Devito, Liani G.; Campbell, Alison; Fogarty, Norah M. E. et al. (2016-06). «Self-organization of the human embryo in the absence of maternal tissues». Nature Cell Biology (en inglés) 18 (6): 700-708. ISSN 1476-4679. PMC 5049689. PMID 27144686. doi:10.1038/ncb3347. Consultado el 3 de enero de 2019.
- ↑ a b Yasufuku, Masao; Okada, Masayoshi; Hisano, Katsuya; Sakata, Masahiro (1 de mayo de 1998). «A New Artificial Placenta with a Centrifugal Pump: Long-Term Total Extrauterine Support of Goat Fetuses». The Journal of Thoracic and Cardiovascular Surgery (en inglés) 115 (5): 1023-1031. ISSN 1097-685X. doi:10.1016/S0022-5223(98)70401-5. Consultado el 3 de enero de 2019.
- ↑ a b «An Artificial Placenta Experimental System in Sheep: Critical Issues for Successful Transition and Survival up to One Week». MDPI (en inglés). [Fecha no verificada]. Consultado el 12 de agosto de 2025.
- ↑ «Acute fetal cardiovascular adaptation to artificial placenta in sheep model». PubMed (en inglés). [Fecha no verificada]. Consultado el 12 de agosto de 2025.
- ↑ «An artificial placenta to increase survival of the most premature babies». MediaHub (Fundación "la Caixa") (en inglés). 28 de febrero de 2024. Consultado el 12 de agosto de 2025.
- ↑ «Ensayada en ovejas una placenta artificial para salvar bebés prematuros extremos». La Vanguardia. 19 de junio de 2023. Consultado el 12 de agosto de 2025.
- ↑ «Placenta artificial alarga vida del feto 12 días». El Periódico. 19 de junio de 2023. Consultado el 12 de agosto de 2025.
- ↑ «La placenta artificial española avanza: la primera fase logra una supervivencia de 12 días en modelos animales». El Mundo. 19 de junio de 2023. Consultado el 12 de agosto de 2025.
- ↑ Randall, Tshaka C.; Randall, Vernellia (22 de marzo de 2008). Built in Obsolescence: The Coming End to the Abortion Debate (en inglés) (ID 1112367). Social Science Research Network. Consultado el 3 de enero de 2019.
- ↑ «Artificial Wombs Could Outlaw Abortion» (en inglés estadounidense). 2 de marzo de 2013. Consultado el 3 de enero de 2019.
- ↑ Smajdor, Anna (2007/07). «The Moral Imperative for Ectogenesis». Cambridge Quarterly of Healthcare Ethics (en inglés) 16 (3): 336-345. ISSN 0963-1801. doi:10.1017/S0963180107070405. Consultado el 3 de enero de 2019.
- ↑ «What Do Artificial Wombs Mean for Women?». Rewire.News (en inglés). Consultado el 3 de enero de 2019.
- ↑ «Wayback Machine». web.archive.org. 1 de agosto de 2014. Archivado desde el original el 1 de agosto de 2014. Consultado el 3 de enero de 2019.
- ↑ Prasad, Aarathi (1 de mayo de 2017). «How artificial wombs will change our ideas of gender, family and equality | Aarathi Prasad». The Guardian (en inglés británico). ISSN 0261-3077. Consultado el 3 de enero de 2019.
Enlaces externos
- Esta obra contiene una traducción total derivada de «Artificial uterus » de Wikipedia en inglés, concretamente de esta versión, publicada por sus editores bajo la Licencia de documentación libre de GNU y la Licencia Creative Commons Atribución-CompartirIgual 4.0 Internacional.
