Analizador infrarrojo de gases


Un analizador infrarrojo de gases mide los gases traza determinando la absorción de una fuente de luz infrarroja emitida a través de una determinada muestra de aire. Los gases traza que se encuentran en la atmósfera de la Tierra se excitan bajo longitudes de onda específicas que se encuentran en el rango infrarrojo. El concepto detrás de la tecnología puede entenderse como una prueba de la cantidad de luz que absorbe el aire. Diferentes moléculas en el aire absorben diferentes frecuencias de luz. El aire con mucho de cierto gas absorberá más de cierta frecuencia, permitiendo que el sensor informe una alta concentración de la molécula correspondiente.
Los analizadores infrarrojos de gases suelen tener dos cámaras, una es de referencia mientras que la otra es de medición. La luz infrarroja se emite desde algún tipo de fuente en un extremo de la cámara, pasando a través de una serie de cámaras que contienen cantidades determinadas de los diversos gases en cuestión.
Principios de operación
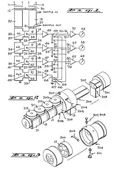
El diseño de 1975 (foto de arriba) es un sensor de infrarrojos no dispersivo. Es el primer analizador mejorado que puede detectar más de un componente de una muestra de gas a la vez. Los analizadores anteriores se vieron frenados por el hecho de que un gas en particular también tiene bandas de absorción más bajas en el infrarrojo.
La invención de 1975 tiene tantos detectores como gases a medir. Cada detector tiene dos cámaras que tienen una fuente y un detector de infrarrojos alineados ópticamente, y ambos están llenos con uno de los gases de la muestra de aire que se va a analizar. En el camino óptico se encuentran dos celdas con extremos transparentes. Uno contiene un gas de referencia y otro contendrá el gas a analizar. Entre la fuente de infrarrojos y las células hay un modulador que interrumpe los haces de energía.
La salida de cada detector se combina con la salida de cualquier otro detector que mide una señal opuesta a la señal principal de cada detector. La cantidad de señal de otros detectores es la cantidad que compensará la proporción de la señal total que corresponde a la interferencia. Esta interferencia proviene de gases con una banda principal de absorción inferior que es la misma que la banda principal del gas que se mide.
Por ejemplo, si el analizador va a medir monóxido y dióxido de carbono, las cámaras deben contener una cierta cantidad de estos gases. La luz infrarroja se emite y pasa a través del gas de muestra, un gas de referencia con una mezcla conocida de los gases en cuestión y luego a través de las cámaras "detectoras" que contienen las formas puras de los gases en cuestión. Cuando una cámara "detectora" absorbe parte de la radiación infrarroja, se calienta y se expande. Esto provoca un aumento de la presión dentro del recipiente sellado que puede detectarse con un transductor de presión o con un dispositivo similar. La combinación de voltajes de salida de las cámaras detectoras del gas de muestra se puede comparar con los voltajes de salida de la cámara de referencia.
Analizadores infrarrojos de gases modernos
Al igual que los analizadores infrarrojos de gases anteriores, los analizadores modernos también utilizan tecnología infrarroja no dispersiva para detectar cierto gas al detectar la absorción de longitudes de onda infrarrojas que es característica de ese gas. La energía infrarroja se emite desde un filamento calentado. Al filtrar ópticamente la energía, el espectro de radiación se limita a la banda de absorción del gas que se mide. Un detector mide la energía después de que la energía infrarroja ha pasado a través del gas que se va a medir. Esto se compara con la energía en la condición de referencia de no absorción.
Muchos analizadores son dispositivos montados en la pared diseñados para el monitoreo de gases sin supervisión a largo plazo. Ahora existen analizadores que miden una variedad de gases y son altamente portátiles para ser adecuados para una gama más amplia de aplicaciones de geociencias. Los analizadores de alta precisión de respuesta rápida se utilizan ampliamente para medir las emisiones de gases y los flujos del ecosistema mediante el método de covarianza de remolinos cuando se utilizan junto con un anemómetro sónico de respuesta rápida.[1]
En algunos analizadores, la fiabilidad de las mediciones se mejora calibrando el analizador en la condición de referencia y una concentración de intervalo conocida. Si el aire interfiere con las mediciones, la cámara que alberga la fuente de energía se llena con un gas que no tiene una concentración detectable del gas que se mide. Dependiendo del gas que se esté midiendo, se puede usar aire fresco, aire químicamente eliminado o nitrógeno.
Referencias
- ↑ Auble, David L.; Meyers, Tilden P. (1992-05). «An open path, fast response infrared absorption gas analyzer for H2O and CO2». Boundary-Layer Meteorology (en inglés) 59 (3): 243-256. ISSN 0006-8314. doi:10.1007/BF00119815.