Convergencia (automóvil)

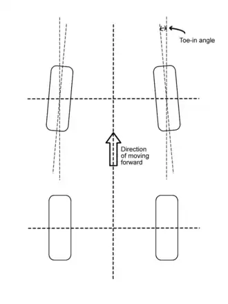
En ingeniería automotriz, la convergencia es el ángulo que posee cada rueda con respecto al eje longitudinal del vehículo. Es un parámetro de geometría estático, que influye en la cinemática y en las condiciones de guiado del vehículo.[1]
Consideraciones generales
La convergencia es simétrica en las ruedas de cada eje, al contrario que el ángulo de giro de las ruedas para dirigir el vehículo, que es antimétrico (es decir, ambas ruedas señalan a la izquierda o a la derecha aproximadamente en paralelo).
La convergencia negativa o divergencia se produce cuando las ruedas delanteras están orientadas hacia el exterior del vehículo.[2] Puede ser medida en unidades lineales (por delante del neumático), o como una desviación angular.
En los coches de tracción trasera, una ligera convergencia frontal proporciona una mayor estabilidad de la trayectoria en línea recta, a costa de una respuesta de giro algo menos ágil. También aumenta el desgaste en los bordes de los neumáticos, sometidos a un leve efecto de deslizamiento. En los coches de tracción delantera, la situación es más compleja.
El ajuste de la convergencia normalmente es posible en la mayoría de los automóviles, no así el lanzamiento o el ángulo de caída. El mantenimiento de la geometría de la dirección (operación normalmente conocida en los talleres mecánicos como "alineación de ruedas", o simplemente, "paralelo") suele realizarse cuando se sustituyen los neumáticos o cuando se produce su desajuste (fácilmente detectable porque el vehículo se desvía de la trayectoria rectilinea cuando se circula en la posición neutra del volante). La convergencia adecuada para que el vehículo circule establemente en línea recta, se confronta con la necesidad de que el radio de giro de la rueda interior sea más pequeño que el de la rueda exterior, problema que se soluciona mediante la geometría de Ackermann de la dirección, modificada según las características de cada tipo de vehículo.
Es importante tener en cuenta que hay vehículos que se puede corregir la convergencia en el eje trasero. En caso de necesitar esta corrección es muy importante primero corregir el eje trasero y luego corregir el eje delantero.
Tanto la convergencia como la divergencia proporcionan estabilidad a la dirección.
Vehículos mixtos carretera-ferrocarril
Las ruedas delanteras de los vehículos de carretera y ferrocarril a menudo se ajustan con una convergencia de 6 mm por 1 metro. A diferencia de otras formas de material rodante ferroviario, estos vehículos no siempre tienen un eje común entre las ruedas sobre el raíl, y el ángulo de convergencia contribuye a evitar que descarrilen.
Interacción con el ángulo de caída
Cuando una rueda está instalada con un determinado ángulo de caída, la interacción entre el neumático y la superficie de la carretera causa que la rueda tienda a efectuar un recorrido curvo, como si fuese parte de una superficie cónica (produciendo el efecto denominado empuje de la caída). Esta tendencia al giro aumenta la resistencia a la rodadura así como provoca un mayor desgaste del neumático. Un grado pequeño de divergencia (para la caída negativa) cancelará esta tendencia de torneado, reduciendo el desgaste y la resistencia a la rodadura. En algunos vehículos de competición como los karts, en los que la potencia del motor está extremadamente limitada y regulada por las reglas de competición, estos efectos pueden llegar a ser muy significativos en términos de competitividad y de rendimiento.
Véase también
Referencias
- ↑ «Beardmore Bros How To Do Tracking». beardmorebros.co.uk. Consultado el 20 de febrero de 2011. «Now adjust the tracking».
- ↑ «Toe-out and Handling, steering geometry & front end alignment». auto-ware.com. Consultado el 28 de agosto de 2011.