Periscopio

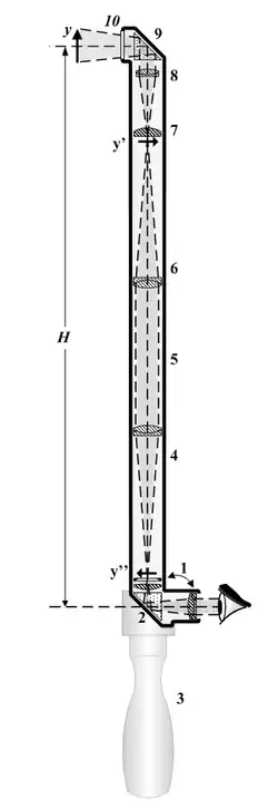
1 - Visor
2 - Prisma diagonal
3 - Asa
4 - 6 - Lentes enderezadoras
5 - Tubo del periscopio
7 - Lente de campo
8 - Lente
9 - Prisma diagonal superior
10 - Ventana.

a Objetivo
b Lente de campo
c Lentes para colocar imagen derecha
d Ocular
e Lente ojo del observador
f Prisma óptico de ángulo recto
g Sistema de prismas para colocar imagen derecha

Un periscopio (etim. del griego peri- y -scopio, περισκοπεῖν, «mirar en torno») es un instrumento para la observación desde una posición oculta.[1][2]
Sarah Mather (inventora estadounidense) fue la inventora del telescopio submarino que terminaría siendo el precursor del periscopio y el registro de su primera patente data de 1845. En un principio el invento se usaba para examinar el fondo marino desde una embarcación en la superficie, que sería una utilidad contraria a la que se le acabó dando al periscopio.
En su forma sencilla es un tubo con un juego de espejos en los extremos, paralelos y en un ángulo de 45° respecto a la línea que los une. Se puede usar para ver sobre la cabeza de la gente en una multitud. Esta forma de periscopio, con la adición de simples lentes, fue usado para propósitos de observación en trincheras durante la Primera Guerra Mundial.
Los periscopios más complejos usan prismas en vez de espejos, y disponen de aumentos.
Estructura y funcionalidad
La estructura básica de un periscopio consiste en un tubo con espejos o prismas dispuestos en ambas aberturas. Estos rayos de luz directa que corren perpendiculares hacia la tubería que luego recorren y salen de ella de nuevo, se desplazan paralelos a la dirección de incidencia original. Un observador que mira por la abertura inferior de un periscopio tiene la impresión de mirar los alrededores desde más arriba. Los espejos están dispuestos en un ángulo de 45° [1] con respecto al haz de luz entrante y saliente, lo que provoca una desviación en ángulo recto. La reflectancia de las superficies de los espejos metalizados se considera imperfecta y continúa deteriorándose a lo largo de los meses.Las superficies diagonales totalmente reflectantes de los prismas, por otro lado, tienen un mejor y más duradero grado de reflexión y se utilizan con preferencia.
Esta estructura simple conduce a un campo de visión que es demasiado pequeño para periscopios más largos. Los periscopios equipados con sistemas de lentes pueden expandir el campo de visión muchas veces con una lente de campo adecuada .
Dos de estos periscopios se muestran esquemáticamente en las figuras adjuntas. La disposición de las lentes corresponde en principio a la de un telescopio con escaso aumento. A menudo se elige un factor de aumento de 1,5 que por razones psicológicas da la impresión de un aumento natural de 1. Dado que la imagen siempre parece estar rotada 180° en sistemas de telescopios simples, se usa un prisma inversor (g) o una lente inversora [2] (c) para invertir la imagen, como en binoculares o telescopios para observación terrestre .
En el caso de los periscopios del segundo tipo, se puede disponer un par de lentes de montaje (c 1 y c 2 ) de tal manera que la trayectoria del haz entre ellos sea paralela. Esto permite cambiar la longitud entre c 1 y c 2 en un amplio rango sin influir en la imagen (por ejemplo, para diferentes alturas de un periscopio submarino).
Si la segunda lente de campo (c 3 / b 2 ) se coloca ligeramente por encima de la imagen intermedia (de ese modo asume parte de la tarea de la lente de erección), hay espacio para una cruz en la ubicación de la imagen intermedia, que aparece como una vista en la imagen. Puede iluminarse lateralmente para observaciones nocturnas.
Variantes
Un “telescopio panorámico” es un periscopio cuyo prisma de desviación superior se puede girar horizontalmente 360° con respecto al inferior. Para garantizar que la imagen no se invierta al girarla, un sistema de prisma adicional entre las lentes reversibles (c1 y c2) garantiza que la imagen se gire en la dirección opuesta.
Con el periscopio de visión anular el horizonte es completamente visible con la ayuda de una lente ojo de pez. La imagen aparece muy reducida de tamaño y distorsionada formando un anillo. Este periscopio puede complementar otros periscopios para que el anillo del horizonte sea visible alrededor de la imagen real.
Periscopios de vehículos blindados
Los tanques y los vehículos blindados utilizan periscopios: permiten a los conductores, comandantes de tanques y otros ocupantes del vehículo inspeccionar su situación a través del techo del vehículo. Antes de los periscopios, se cortaron ranuras de visión directa en la armadura para que los ocupantes pudieran ver. Los periscopios permiten ver el exterior del vehículo sin necesidad de cortar estas aberturas de visión más débiles en el blindaje frontal y lateral, protegiendo mejor el vehículo y los ocupantes.
Un protectoscopio es un dispositivo de visión periscópica relacionado diseñado para proporcionar una ventana en una placa blindada, similar a una rendija de visión directa. Un periscopio compacto dentro del protectoscopio permite tapar la rendija de visión con una placa blindada espaciada. Esto evita un punto de entrada potencial para el fuego de armas pequeñas, con solo una pequeña diferencia en la altura de visión, pero aún requiere que se corte la armadura.
En el contexto de los vehículos de combate blindados, como los tanques, un dispositivo de visión periscópica también puede denominarse episcopio. En este contexto, un periscopio se refiere a un dispositivo que puede girar para proporcionar un campo de visión más amplio (o se fija en un conjunto que puede hacerlo), mientras que un episcopio se fija en su posición.
Los periscopios también se pueden denominar en jerga, por ejemplo, "shufti-scope".[3]
Periscopios de 360 grados de Gundlach y Vickers
Un desarrollo importante, el periscopio giratorio de Gundlach, incorporó una parte superior giratoria con un prisma adicional seleccionable que invirtió la vista. Esto permitió al comandante de un tanque obtener un campo de visión de 360 grados sin mover su asiento, incluida la visión trasera al activar el prisma adicional. Este diseño, patentado por Rudolf Gundlach en 1936, se utilizó por primera vez en el tanque ligero polaco 7-TP (producido entre 1935 y 1939).
Como parte de la cooperación militar polaco-británica anterior a la Segunda Guerra Mundial, la patente se vendió a Vickers-Armstrong, donde se desarrolló aún más para su uso en tanques británicos, incluidos los modelos Crusader, Churchill, Valentine y Cromwell como el periscopio de tanque Vickers MK.IV.
La tecnología Gundlach-Vickers se compartió con el ejército estadounidense para su uso en sus tanques, incluido el M4 Sherman, construido para cumplir con los requisitos conjuntos británicos y estadounidenses. Esto resultó en la controversia de la posguerra a través de acciones legales: "Después de la Segunda Guerra Mundial y una larga batalla judicial, en 1947 él, Rudolf Gundlach, recibió un gran pago por su patente de periscopio de algunos de sus productores".[4]
La URSS también copió el diseño y lo utilizó ampliamente en sus tanques, incluidos el T-34 y el T-70. Las copias se basaron en vehículos británicos Lend-Lease y muchas partes siguen siendo intercambiables. Alemania también lo hizo y utilizó copias.[4]
Miras de armas periscópicas
Las miras periscópicas también se introdujeron durante la Segunda Guerra Mundial. En el uso británico, el periscopio Vickers se proporcionó con líneas de visión, lo que permite que los prismas delanteros y traseros se alineen directamente para obtener una dirección precisa. En tanques posteriores como el Churchill y Cromwell, un episcopio marcado de manera similar proporcionó un mecanismo de observación de respaldo alineado con una mira de paleta en el techo de la torreta.
Más tarde, los tanques Sherman construidos en Estados Unidos y los tanques Centurion y Charioteer británicos reemplazaron la mira telescópica principal con una verdadera mira periscópica en el papel principal. La mira periscópica estaba vinculada al arma en sí, lo que permite capturar la elevación (la rotación se fija como parte de la torreta giratoria). Las miras formaban parte del periscopio general, proporcionando al artillero una mayor visión general de la que antes era posible con la mira telescópica.
Periscopios AFV especializados modernos
En el uso moderno, los periscopios especializados también pueden proporcionar visión nocturna. El periscopio de imagen integrado (EIP) diseñado y patentado por Kent Periscopes proporciona la funcionalidad de periscopio de visión unitaria estándar para una visualización diurna normal de los alrededores del vehículo, además de la capacidad de mostrar imágenes digitales de una variedad de sensores y cámaras en el vehículo (incluidas las térmicas y con poca luz ) de modo que la imagen resultante aparezca "incrustada" internamente dentro de la unidad y proyectada en posiciones de visualización cómodas.
Uso naval

Los periscopios permiten a un submarino, cuando está sumergido a relativamente poca profundidad, buscar visualmente objetivos cercanos y amenazas en la superficie del agua y en el aire. Cuando no se utiliza, el periscopio de un submarino se repliega en el casco. Un comandante de submarino en condiciones tácticas debe actuar con discreción cuando utiliza su periscopio, ya que crea una estela visible (y también puede llegar a ser detectable por radar),[5][6] delatando la posición del submarino.
Marie-Davey construyó en 1854 un periscopio naval sencillo y fijo que utilizaba espejos. Thomas H. Doughty, de la Marina de los Estados Unidos, inventó más tarde una versión prismática para su uso en la guerra civil estadounidense de 1861-1865.
Los submarinos adoptaron los periscopios muy pronto. El capitán Arthur Krebs adaptó dos en el submarino experimental francés Gymnote en 1888 y 1889. El inventor español Isaac Peral equipó su submarino Peral (desarrollado en 1886 pero botado el 8 de septiembre de 1888) con un periscopio fijo no retráctil que utilizaba una combinación de prismas para transmitir la imagen al submarinista. (Peral también desarrolló un giroscopio primitivo para la navegación submarina y fue pionero en la capacidad de disparar torpedos vivos mientras estaba sumergido.[7]
La invención del periscopio plegable para su uso en la guerra submarina suele atribuirse a Simon Lake en 1902. Lake llamó a su dispositivo "omniscopio" o "skalomniscopio".
A partir del 2009 los periscopios submarinos modernos incorporan lentes de aumento y funcionan como telescopios. Suelen emplear prismas y reflexión interna total en lugar de espejos, ya que los prismas, que no requieren revestimientos en la superficie reflectante, son mucho más resistentes que los espejos. Pueden tener capacidades ópticas adicionales, como detección del alcance y puntería. Los sistemas mecánicos de los periscopios submarinos suelen utilizar hidráulica y deben ser bastante resistentes para soportar el arrastre por el agua. El chasis del periscopio también puede soportar una antena de radio o radar.
Tradicionalmente, los submarinos disponían de dos periscopios: uno de navegación u observación y otro de puntería o de mando. Originalmente, las armadas montaban estos periscopios en la torre de mando, uno delante del otro en los estrechos cascos de los submarinos diésel-eléctricos. En los cascos mucho más anchos de A 2009 submarinos de la Armada de EE. UU. los dos operan uno al lado del otro. El periscopio de observación, utilizado para explorar la superficie del mar y el cielo, suele tener un amplio campo de visión y ningún aumento o aumentos de baja potencia. El periscopio de puntería o de "ataque", en cambio, tenía un campo de visión más estrecho y un aumento mayor. En los submarinos de la Segunda Guerra Mundial y de épocas anteriores era el único medio de obtener datos sobre el blanco para disparar con precisión un torpedo, ya que el sonar aún no estaba lo suficientemente avanzado para este fin (la localización con sonar requería la emisión de un "ping" acústico que delataba la ubicación del submarino) y la mayoría de los torpedos no estaban guiados.
Los submarinos del siglo XXI no tienen necesariamente periscopios. Los submarinos clase S Virginia de la Marina de los Estados Unidos y los submarinos Clase S Astute de la Royal Navy utilizan en su lugar mástiles fotónicos,[8] del que fue pionero el HMS Trenchant de la Royal Navy, que eleva un conjunto de sensores electrónicos de imagen por encima del agua. Las señales del conjunto de sensores viajan electrónicamente a las estaciones de trabajo del centro de control del submarino. Aunque los cables que transportan la señal deben penetrar en el casco del submarino, utilizan una abertura en el casco mucho más pequeña y fácil de sellar -y, por tanto, menos costosa y más segura- que las que requieren los periscopios. La eliminación del tubo telescópico que atraviesa la torre de mando también permite una mayor libertad en el diseño del casco de presión y en la colocación de los equipos internos.
Uso aeronáutico
Los periscopios también se han utilizado en aviones para secciones con visión limitada. El primer uso conocido de periscopio en aviones fue en el Spirit of St. Louis. El Vickers VC10 tenía un periscopio que podía utilizarse en cuatro lugares del fuselaje de aviones,[9] bombarderos tales como el Avro Vulcan y el Handley Page Victor[10] y el Nimrod MR1 como "visor superior".[11] Varios aviones bombarderos estadounidenses como el B-52 utilizaban periscopios sextantes para la navegación celeste antes de la introducción del GPS.[12] Esto también permitió a la tripulación navegar sin el uso de un astrodomo en el fuselaje.[13][14] En todos los modelos Boeing 737 fabricados antes de 1997 se utilizaba un periscopio de emergencia que se encontraba bajo el "Asiento D", detrás de la fila de salida por encima del ala, para regular el tren de aterrizaje. Los aviones de alta velocidad e hipersónicos como el North American X-15 utilizaban un periscopio.
Referencias
- ↑ Walker, Bruce H. (2000). Optical Design for Visual Systems. SPIE Press. p. 117. ISBN 978-0-8194-3886-7.
- ↑ The Submarine Periscope: An Explanation of the Principles Involved in Its Construction, Together with a Description of the Main Features of the Barr and Stroud Periscopes. Barr and Stroud Limited. 1928.
- ↑ Partridge, Eric (2006). A Dictionary of Slang and Unconventional English. Routledge. pp. 1065-. ISBN 978-1-134-96365-2.
- ↑ a b Łukomski, Grzegorz and Stolarski, Rafał E. (1999) Nie tylko Enigma... Mjr Rudolf Gundlach (1892–1957) i jego wynalazek (Not Only Enigma... Major Rudolf Gundlach (1892–1957) and His Invention), Warsaw-London.
- ↑ Petty, Dan. «La Armada de EE.UU. - Ficha técnica: AN/SPS-74(V) Radar Set». www.navy.mil. Archivado desde el original el 14 de febrero de 2019. Consultado el 29 de noviembre de 2017.
- ↑ Ousborne, Jeffrey; Griffith, Dale; Yuan, Rebecca W. (1997). «Un radar de detección de periscopios». Johns Hopkins APL Technical Digest 18: 125. Archivado desde pdf el original el 8 de agosto de 2017. Consultado el 29 de noviembre de 2017.
- ↑ «El Arma Submarina Española». Archivado desde el original el 17 de diciembre de 2009. Consultado el 21 de octubre de 2009.
- ↑ {com/books?id=TfOcAAAAQBAJ&pg=PA65 Guerra en el mar y en el aire. Britannica Educational Publishing. 1 de noviembre de 2011. p. 65. ISBN 978-1-61530-753-1.
- ↑ «Oddities & Innovations».
- ↑ victorxm715.co.uk/bobs-tale-of-phantoms/ «Cuento de fantasmas de Bob - Victor XM715».
- ↑ Wilson, Michael (13 de junio de 1968). «Hawker Siddeley Nimrod MR.1». Flight International: 892. Archivado desde el original el 25 de diciembre de 2023.
- ↑ pritzkermilitary.org/explore/museum/past-exhibits/citizen-soldier/periscopic-aircraft-sextant «Periscopio sextante de avión | Museo y Biblioteca Militar Pritzker | Chicago».
- ↑ Reichel, Jack. «Sextante Perscópico». ION Navigation Museum. Archivado desde el original el 5 de julio de 2023. Consultado el 4 de abril de 2024.
- ↑ Campbell, Charles J.; McEachern, Lawrence J.; Marg, Elwin (1956). «Vuelo de un avión mediante un periscopio óptico». Journal of the Optical Society of America 46 (11): 944. doi:10.1364/JOSA.46.000944.
Véase también
Enlaces externos
Wikimedia Commons alberga una galería multimedia sobre Periscopio.
Wikcionario tiene definiciones y otra información sobre periscopio.