Proceso de Van Arkel-de Boer
El proceso Van Arkel-de Boer, también conocido como proceso del yoduro o proceso de la barra de cristal, fue el primer proceso industrial para la producción comercial de titanio dúctil puro, circonio y otros metales. Fue desarrollado por Anton Eduard van Arkel y Jan Hendrik de Boer en 1925 para Philips NV. [1][2][3][4][5]Actualmente se utiliza en la producción de pequeñas cantidades de titanio y circonio ultrapuros. Consiste principalmente en la formación de yoduros metálicos y su posterior descomposición para obtener metal puro, por ejemplo, en una de las plantas de Albany de Allegheny Technologies. [6]
Este proceso fue reemplazado comercialmente por el proceso Kroll.

Proceso
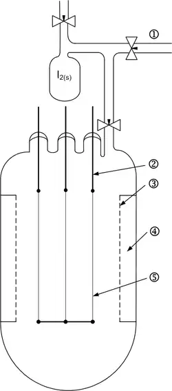
Como se ve en el diagrama, los elementos impuros, como el titanio, el circonio, el hafnio, el vanadio, el torio o el protactinio, se calientan en un recipiente en el que se ha hecho el vacío con un halógeno a una temperatura entre 50 y 250 °C. La patente se refería específicamente a la intermediación de TiI₄ y ZrI₄, que se volatilizaban (dejando las impurezas en forma de sólidos). A presión atmosférica, el TiI₄ funde a 150 °C y hierve a 377 °C, mientras que el ZrI₄ funde a 499 °C y hierve a 600 °C. Los puntos de ebullición son más bajos a presión reducida. El tetrayoduro metálico gaseoso se descompone en un filamento de wolframio caliente a una temperatura de 1400 °C. A medida que se deposita más metal, el filamento conduce mejor y, por tanto, se requiere una mayor corriente eléctrica para mantener su temperatura. El proceso puede llevarse a cabo en varias horas o varias semanas, dependiendo de la configuración concreta.
En general, el proceso de purificación de la barra de cristal puede realizarse con cualquier número de metales utilizando cualquier halógeno o combinación de halógenos que sea más apropiada para ese tipo de mecanismo de transporte, en función de las reacciones implicadas. Los únicos metales para cuya purificación se ha utilizado a escala industrial son el titanio, el circonio y el hafnio, y de hecho se sigue utilizando hoy en día a una escala mucho menor para necesidades especiales de pureza.
Referencias
Enlaces externos
- Esta obra contiene una traducción derivada de «Van Arkel–de Boer process» de Wikipedia en inglés, concretamente de esta versión, publicada por sus editores bajo la Licencia de documentación libre de GNU y la Licencia Creative Commons Atribución-CompartirIgual 4.0 Internacional.