Timbre eléctrico

Un timbre eléctrico consiste en un circuito eléctrico compuesto por un generador, un interruptor y un electroimán. La armadura del electroimán está unida a una pieza metálica llamada martillo, que puede darle una campana pequeña.
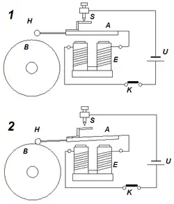
Funcionamiento
La electricidad circula por el enrollamiento del electroimán y este crea un campo magnético en su núcleo y atrae la armadura. El martillo, soldado a la armadura, golpea la campana produciendo el sonido. Al abrir el interruptor cesan la corriente y el campo magnético del electroimán, y un resorte devuelve la armadura a su posición original para interrumpir el sonido.
Para conseguir que el martillo golpee la campana repetidamente mientras el interruptor esté cerrado, y no una sola vez, se sitúa un contacto eléctrico en la armadura que actúa como un interruptor. Así, cuando la armadura es atraída por el electroimán, se interrumpe el contacto, cesa la corriente en el electroimán y la armadura retrocede a su posición original. Allí vuelve a establecerse el contacto eléctrico, con lo que el electroimán vuelve a atraer a la armadura, y así sucesivamente.
Modernamente, muchos timbres no tienen interruptor, basándose en golpear la campana al doble de la frecuencia de la red. Tienen la ventaja de ser más fiables y más duraderos, ya que no se ensucian ni se desgastan los contactos del interruptor. Algunos no tienen ni campana, bastando la vibración de los contactos transmitida a la caja del timbre. A veces se llama zumbadores a estos timbres sin campana, porque el sonido que producen es un zumbido; Normalmente este se usa en oficinas, escuelas e institutos para avisar que es la hora de cambiar de clase o si hay algún incendio u otra emergencia
Historia
El primer timbre que se creó en la historia era un zumbador eléctrico creado en 1830 aproximadamente. Su inventor fue Joshep Henry, que falleció el 13 de mayo de 1879 a los 80 años de edad.[1]
Tipos de timbre
Los timbres de alimentación eléctrica pueden funcionar conectándolos a la red o bien a una batería. Existen 3 tipos diferentes:
Timbre de hilos: estos dispositivos poseen un cable entre el pulsador y el receptor.
Timbre inalámbrico: el pulsador envía la señal al receptor por ondas, sin necesidad de cables.
Timbre electromecánico: Son aquellos timbres mecánicos que funcionan mediante la aplicación de corriente eléctrica, como los llamados zumbadores.[2]
Véase también
Referencias
- ↑ «¿Quién inventó el timbre eléctrico?». El Morrocotudo.cl , Noticias de Arica y Parinacota. Consultado el 25 de julio de 2024.
- ↑ Trujillo, Author: Ana (9 de julio de 2022). «¿Qué tipos de timbres existen?». Cerrajeria en San Luis Potosí. Consultado el 25 de julio de 2024.