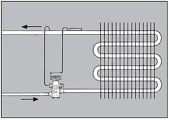
Válvula de expansión termostática




Una válvula de expansión termostática (a menudo abreviado como VET o válvula TX en inglés) es un dispositivo de expansión el cual es un componente clave en sistemas de refrigeración y aire acondicionado, que tiene la capacidad de generar la caída de presión necesaria entre el condensador y el evaporador en el sistema. Básicamente su misión, en los equipos de expansión directa (o seca), se restringe a dos funciones: la de controlar el caudal de refrigerante en estado líquido que ingresa al evaporador y la de sostener un sobrecalentamiento constante a la salida de este. Para realizar este cometido dispone de un bulbo sensor de temperatura que se encarga de cerrar o abrir la válvula para así disminuir o aumentar el ingreso de refrigerante y su consecuente evaporación dentro del evaporador, lo que implica una mayor o menor temperatura ambiente, respectivamente.
Este dispositivo permite mejorar la eficiencia de los sistemas de refrigeración y de aire acondicionado, ya que regula el flujo másico del refrigerante en función de la carga térmica. El refrigerante que ingresa al evaporador de expansión directa lo hace en estado de mezcla líquido/vapor, ya que al salir de la válvula se produce una brusca caída de presión producida por la "expansión directa" del líquido refrigerante, lo que provoca un parcial cambio de estado del fluido a la entrada del evaporador. A este fenómeno producido en válvulas se le conoce como flash-gas.
Fundamentos
A diferencia de las otras válvulas y dispositivos de expansión, la VET mantiene un grado constante de sobrecalentamiento a la salida del evaporador lo que permite operar el evaporador a plena carga de refrigerante sin peligro de un eventual ingreso de líquido a la succión del compresor, ya que el refrigerante que abandona el evaporador lo hará en estado de vapor sobrecalentado en su totalidad. Es por esto que la VET es adecuada en sistemas con variaciones de carga térmica.
Las fuerzas que interactúan en el flujo de refrigerante son –básicamente- tres: la Presión al interior del evaporador (de evaporación), Presión ejercida por el husillo de ajuste de recalentamiento, y la Presión ejercida por la mezcla líquido/vapor que se tiene al interior del bulbo sensor (presión del fluido potencia), la cual debe ser igual a la sumatoria de las anteriores para que la válvula opere de manera correcta.
De esta manera, al variar la presión de evaporación, debe variar también la presión de la mezcla líquido/vapor al interior del bulbo sensor -ya que la presión del husillo es constante- para mantener el equilibrio de presiones. Cada vez que esta condición de equilibrio se rompa, es decir aumente la presión de evaporación, habrá flujo de refrigerante hasta que la presión del bulbo se eleve lo suficiente como para establecer el equilibrio de tensiones.
Respecto de la presión ejercida por el husillo –conocido también como tornillo o resorte-, esta es la necesaria para lograr el “ajuste por sobrecalentamiento” y viene ya calibrada por los fabricantes de las válvulas (5 a 10 °F). Aumentar la tensión implica incrementar el sobrecalentamiento lo que conlleva a disminuir la superficie efectiva del evaporador; disminuir esta tensión puede llevar el evaporador a una condición de sobrealimentación indeseada. Por lo tanto no se recomienda intervenir este ajuste; una intervención, es decir una regulación al husillo, implica por lo general que se ha realizado una mala selección de la válvula. No obstante lo anterior, es posible una excepcional regulación del husillo en el caso de que el valor nominal de la carga térmica varíe de forma definitiva, sin que ella escape a la capacidad y rango de operación de la válvula.
Válvulas VET compensadas externamente
Esta variante de la válvula VET es la solución ante una problemática más que habitual en la instalación frigorífica: la pérdida de carga que experimenta el refrigerante al interior del evaporador. Asimismo existe también la posibilidad de conexión de fittings como distribuidores a la entrada del evaporador lo que genera una inmediata caída de presión de 0,5 bar como mínimo.
Por su parte, un sistema frigorífico que se ve expuesto a constantes y bruscas variaciones de carga térmica debe tener como dispositivo de expansión una de estas válvulas ya que una sin compensación no asegura evaporar de manera total el refrigerante contenido en el evaporador y de manera eficiente -un problema frecuente en los arranques del compresor-, o bien habría que disminuir la superficie efectiva del mismo, en desmedro de su rendimiento.
La válvula VET compensada externamente se complementa con una línea (tubería) de compensación conectada entre la salida del evaporador –6 a 8 pulgadas después del bulbo sensor- y un diafragma intermedio, de manera tal que las fuerzas que interactúan son:
Las válvulas VET compensadas externamente se deben utilizar cuando las caídas de presión al interior del evaporador, o por accesorios, son mayores a 0,2 [kg/cm2] o 4 psi. No obstante lo anterior, este tipo de válvulas puede usarse en todas las aplicaciones de refrigeración ya que esta no presenta desventajas operacionales como las VET sin compensación.
Ambos tipos de válvulas VET son posibles de encontrar con orificios de expansión tanto fijos como intercambiables. Estos orificios intercambiables –sujetos a sencillos cálculos- tienen la ventaja de que con un mismo cuerpo de válvula, el cual opera dentro de un rango y bajo un valor nominal de capacidad máxima, se pueden generar distintas caídas de presión y capacidades frigoríficas en función de orificio seleccionado.
Asimismo cada válvula es seleccionada según el refrigerante que ocupe el sistema frigorífico. Es decir, existen válvulas VET exclusivas para cada refrigerante; esto es principalmente por el fluido potencia que está contenido en el bulbo sensor el cual debe tener compatibilidad termodinámica con el refrigerante en el circuito. Por su parte refrigerantes como el amoníaco requieren cuerpos de válvula especiales sin componentes de cobre ya que estos generan reacción corrosiva.
Componentes
Se compone de:
- Un cuerpo compuesto por una cámara en la cual se produce la expansión, al pasar el fluido refrigerante a ésta a través de un orificio cilindro-cónico obturado parcialmente por un vástago, y los tubos de entrada y salida del fluido.
- Un elemento o fluido de potencia que actúa sobre el vástago para abrir o cerrar el paso de refrigerante a la cámara de expansión.
- Un husillo regulador o tornillo que ajusta la cantidad mínima de caudal.
- Un bulbo sensor situado a la salida del evaporador, conectado por un capilar al elemento de potencia y que actúa sobre éste.
- Una tubería de compensación de presión conectada también a la salida del evaporador, y que ayuda a funcionar al obturador. Este accesorio es necesario solo para la VET compensada externamente.
Ventajas
- Son especialmente adecuadas para inyección de líquido en evaporadores "secos", en los cuales el recalentamiento a la salida del evaporador es proporcional a la carga de éste.
- Regulan activamente la expansión al ser activadas por el sobrecalentamiento. La inyección se controla en función del sobrecalentamiento del refrigerante.
- El sobrecalentamiento constante en la línea de gas evita la posibilidad de ingreso de refrigerante en estado líquido a la succión del compresor.